Лабораторная работа № 5.1

Изучение устройства защитных искровых промежутков, разрядников и ОПН

Цель работы: изучить конструкции, принцип действия и назначение искровых промежутков, разрядников и нелинейных ограничителей перенапряжений

Общие сведения

Защитные искровые промежутки, трубчатые и вентильные разрядники и нелинейные ограничители перенапряжений (ОПН) предназначены для защиты электроустановок от перенапряжений. Принцип действия их состоит в том, что они предотвращают появление на электроустановке импульсов перенапряжений, опасных идя ее изоляции, не препятствуют работе электроустановки при рабочем напряжении.

Простейшим защитным устройством является искровой промежуток, включенный параллельно изоляционной конструкции. Для предупреждения пробоя изоляции вольт-секундная характеристика защитного искрового промежутка должна лежать ниже вольт-секундной характеристики защищаемой изоляции.

Конструктивно защитные промежутки выполняются в виде стрежневых электродов (рогов). Один из электродов промежутка присоединяют к фазному проводу, а другой заземляют. При набегании импульса напряжения происходит пробой защитного промежутка. Вслед за импульсным током через защитный промежуток по ионизированному пути течет ток, обусловленный напряжением промышленной частоты, – сопровождающий ток. При работе электроустановки в сети с заземленной нейтралью или, если пробой промежутка произошел в двух или трех фазах, дуга сопровождающего тока может не погаснуть и пробой переходит в устойчивое короткое замыкание. Поэтому для повышения надежности электроснабжения защитные искровые промежутки применяют в сочетании с автоматическим повторным включением (АПВ) линий.

В установках до 35 кВ защитные промежутки имеют небольшую длину для избежания случайного их замыкания например, птицами в заземляющих спусках защитных промежутков создаются дополнительные искровые промежутки.

На рис. 5.12, а показана установка рогообразных искровых промежутков на опорах воздушных линий напряжением 10 кВ. Основной промежуток 1 имеет расстояние 30-60 мм, а дополнительный промежуток 2, выполнен на спуске 10-15 мм. Искровой промежуток, показанный на рис. 5.1,б, устанавливают на траверсе железобетонных и одностоечных деревянных опор воздушных линий, а также на подстанциях. Он монтируется на шейках штыревых опорных изоляторов.

Защитный промежуток не обеспечивает надежную работу грозозащиты, так как он не гасит электрической дуги сопровождающего тока. Защитные аппараты, обеспечивающие не только защиту изоляции от перенапряжений, но и гашение дуги сопровождающего тока в течение времени меньшего, чем время действия релейной защиты, получили название защитных разрядников. Имеются два различных способа гашения дуги: в трубчатых разрядниках гашение происходит в результате интенсивного продольного дутья, в вентильных разрядниках – благодаря снижению значения сопровождающего тока с помощью сопротивления, включенного последовательно с искровым промежутком.

 


Рис. 5.12. Установка роговых искровых промежутков:
а) на штыках и крюках опор воздушных линий;
б) на траверсах железобетонных и деревянных опор
1 – основной искровой промежуток; 2 – дополнительный

 

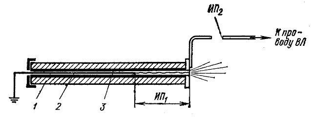
Основу трубчатого разрядника составляет трубка из газогенерирующего материала 1 (рис. 5.13). Один конец трубки закрывается металлической крышкой, на которой укреплен внутренний электрод 2. На открытом конце трубки расположен другой электрод в виде кольца 3. Промежуток ИП1 между стержневым и кольцевым электродами называется внутренним или дугогасящим промежутком. Трубка отделяется от провода фазы внешним искровым промежутком ИП2, иначе газогенерирующий материал трубки постоянно разлагался бы под действием токов утечки.

При пробое наружного и внутреннего промежутков трубчатого разрядника фазный провод соединяется через разрядник с заземлением, и таким образом волна перенапряжения отводится в землю. Электрическая дуга сопровождающего тока разлагает стенки трубки, обеспечивая интенсивное газообразование, создающее в трубке высокое давление. Под действием этого давления горячие газы устремляются к выхлопному отверстию, создают продольное дутье, в результате чего дуга гасится при первом же прохождении тока через нулевое значение. Срабатывание разрядника сопровождается выхлопом раскаленных газов и звуком, напоминающим выстрел.

 

Рис. 5.13. Устройство трубчатого разрядника

В качестве газогенерирующего материала в трубчатых разрядниках используют фибробакелит или винипласт.

В зависимости от этого выпускают разрядники серии РТФ или РТВ. В маркировке трубчатых разрядников указывают номинальные напряжения и пределы отключаемых токов. Например, марка РТВ 10/0,5-4 означает, разрядник трубчатый винипластовый на напряжение 10 кВ с пределами отключаемых токов 0,5-4 кА.

Так как работа трубчатых разрядников сопровождается выхлопом сильно ионизированных газов, расположение их на опоре должно быть таким, чтобы выхлопные газы не вызывали междуфазных перекрытий или перекрытий на землю. Для этого в зону выхлопа не должны попадать токоведущие части других фаз.

Наличие зоны выхлопа не позволяет использовать трубчатые разрядники для защиты оборудования на подстанциях. Основное их применение – это защита линейных подходов к подстанциям, электрооборудования маломощных подстанций 6-10 кВ и участков пересечения линий разного номинального напряжения.

При изучении конструкции фибровых разрядников следует обратить внимание на выполнение трубки разрядника. Для создания необходимой механической прочности дугогасительной трубки сверху ее обматывают слоем бакелизированной бумаги и затем подвергают термической обработке.

Разрядники сверху покрывают слоем изолирующего лака, чтобы увеличить электрическую прочность по поверхности трубки. Трубки винипластовых разрядников сверху не обрабатывают.

Вентильные разрядники до недавнего времени являлись основным средством защиты от перенапряжений станций и подстанций. Основными элементами вентильных разрядников являются многократные искровые промежутки и номинальные рабочие сопротивления, выполненные в виде дисков или столбиков из вилита. Основу вилита составляют зерна карборунда SiC. На поверхности карборунда имеется запорный слой толщиной порядка 100 мкм из окиси кремния SiO2, сопротивление которого нелинейно зависит от напряженности электрического поля. При малых напряженностях поля (при небольших напряжениях на резисторе) удельное сопротивление слоя составляет 104-106 Ом·м, и практически все напряжение ложится на него, так как удельное сопротивление самого карборунда значительно меньше – около 10-2 Ом·м. При повышении напряженности поля сопротивление запорного слоя резко падает, и значение сопротивления нелинейного резистора начинает определяться собственно карборундом. Поэтому вилит обладает свойств ом резко менять свое сопротивление в зависимости от напряжения, обеспечивая пропускание очень больших токов при высоких напряжениях и очень малых при пониженном, это свойство материала называют “вентильным”. Отсюда и название аппарата: вентильный разрядник.

Волна перенапряжения в вентильных разрядниках гасится совместным действием искровых промежутков и вилитовых дисков: искровые промежутки пробиваются, сопротивление дисков уменьшается, и ток разряда отводится в землю.

Наибольшее напряжение промышленной частоты на разряднике, при котором надежно обрывается сопровождающий ток, называется напряжением гашения.

Комплект искровых промежутков и вилитовых дисков помещается в герметизированный фарфоровый чехол. Герметизация необходима для предохранения вилита от действия влаги и для обеспечения стабильности разрядных характеристик искровых промежутков.

Наша промышленность выпускает вентильные разрядники типов: РВС – станционные, РВМ – для защиты вращающихся машин, РВМГ – с магнитным гашением дуги, РВО – облегченной конструкции, PC – для защиты электроустановок сельскохозяйственного назначения.

Для сельских станций и подстанций применяют разрядники типов РВО на токи до 10 А и PC на токи до 30 А, РН – низкого напряжения для защиты от атмосферных перенапряжений изоляции электрооборудования напряжением 0,4 кВ.

Основной недостаток вентильных разрядников связан с тем, что резисторы на основе карборунда обладают сравнительно невысокой нелинейностью.

Разрядники в качестве средств защиты от перенапряжений на вновь проектируемых подстанциях 110 кВ и выше согласно [14] не применяются.

Выпускаемые в настоящее время нашей промышленностью и за рубежом резисторы на основе окиси цинка обладают значительно большей нелинейностью, чем резисторы на основе карборунда. Это позволило создать новый тип защитного аппарата – нелинейный ограничитель перенапряжений (ОПН). Преимуществами ОПН являются возможность глубокого ограничения перенапряжений, в том числе междуфазных, малые габариты, позволяющие использовать их в качестве опорных изоляционных колонн.

Ограничители комплектуются в виде параллельно соединенных колонок из дисков. Торцы дисков металлизированы и обеспечивают контакт между дисками. В соответствии с пропускной способностью число параллельных колонок резисторов в ОПН варьируется в зависимости от напряжения. Под рабочим напряжением через ОПН протекает ток величиной доли миллиампер, ток носит емкостный характер. Повышение напряжения, при появлении импульса перенапряжения, вызывает снижения активного сопротивления резисторов ОПН. Ток через ОПН возрастает до сотен ампер при появлении коммутационных перенапряжений и до нескольких килоампер при воздействии грозовых перенапряжений. После прохождения волны перенапряжения к ОПН вновь прикладывается рабочее напряжение, и он переходит в непроводящее состояние. Полупроводниковый характер проводимости ОПН обеспечивает практически мгновенный (<1нс) переход из “закрытого” состояния в “открытое”, что выгодно отличает их от вентильных разрядников с искровым промежутком, обладающих временем действия до нескол ьких микросекунд. Коэффициент нелинейности резисторов ОПН в области ограничения коммутационных перенапряжений имеет значение 0,03-0,05. При ограничении грозовых перенапряжений, коэффициент нелинейности возрастает до 0,07-0,1. Такая высокая нелинейность позволяет исключить искровой промежуток и подключать резистор ОПН непосредственно к сети. Однако при постоянном подключении ОПН под напряжение возникает необходимость в обеспечении тепловой устойчивости его резистора при рабочих напряжениях, при сравнительно длительных повышениях напряжения частотой 50 Гц и при установившихся перенапряжениях.

Применительно к ОПН отсутствует понятие напряжения гашения. Однако длительное воздействие резонансных перенапряжений, связанных с прохождением через ОПН больших токов, может нарушить тепловую устойчивость аппарата и привести к аварии. В связи с этим для ОПН установлены допустимые длительности приложения повышенных напряжений, которые должны быть скоординированы с действием релейных защит.

Применение ОПН позволяет глубоко ограничивать также и междуфазные перенапряжения. В настоящее время нашей промышленностью выпускаются ОПН практически на все классы напряжения, начиная с напряжения 0,5 кВ, для установки со стороны обмотки низкого напряжения на трансформаторных подстанциях 10/0,4 кВ.

У ОПН нормируются следующие параметры:

1.Длительно допустимое наибольшее рабочее напряжение Uдлит, которое неограниченно долго может быть приложено между выводами ОПН. Ток, протекающий через ОПН при воздействии этого напряжения, не более 1 мА.

2.Наибольшее допустимое напряжение Uдоп.наиб, промышленной частоты, которое ОПН должен выдержать в течение определенного времени. По стандарту МЭК ОПН должен выдерживать это напряжение в течение 10 с после предварительного нагрева до 60 °С и воздействия энергетическим импульсом, соответствующим удельной энергоемкости данного типа ограничителя.

3.Временно допустимое повышение напряжения Uт промышленной частоты. Значение этого напряжения зависит от времени воздействия и, как правило, приводится в паспортных данных ОПН.

4.Энергоемкость ОПН – его способность поглощать энергию нормированных коммутационных перенапряжений, которая характеризуется удельной энергоемкостью.

Для нормальной работы ОПН необходимо, чтобы описанные выше параметры соответствовали параметрам сети, в которой предполагается его установка.

Таблица 5.1

Электрические параметры ОПН (ОПН/TEL)

ПараметрТип ОПН
ОПН-6ОПН-10ОПН-35ОПН- 110
Класс напряжения сети, кВ61035110
Наибольшее длительно допустимое рабочее напряжение, КВ6,0 - 6,910,5 - 12,040,573,0 -84,0
Пропускная способность, не менее, А250550

 

Указания к выполнению работы

  1. Записать технические данные выключателя, помещенные на табличке.
  2. Разобрать устройство и конструкцию искровых промежутков, выполненных в виде рогов. Ознакомиться с правилами их установки на опорах воздушных линий.
  3. Разобрать конструкцию трубчатых разрядников на 10 кВ типов РТФ и РТВ. Ознакомиться с правилами подключения разрядников.
  4. Рассмотреть конструкцию вентильного разрядника. Ознакомиться с принципом его работы и способом установки.
  5. Рассмотреть конструкцию ОПН. Ознакомиться с принципом его работы и способом установки.

 

 

Оформление отчета

Отчет должен содержать:

1.Цель работы.

2.Схему включения искрового промежутка.

3.Эскиз трубчатого разрядника.

4.Эскиз единичного искрового промежутка, вентильного разрядника.

5.Паспортные данные всех разрядников и ОПН, установленных в лаборатории.

 

 

Контрольные вопросы

1. Каково назначение разрядников и защитных искровых промежутков?

2. Чем определяются защитные свойства защитных искровых промежутков и разрядников?

3. Каков принцип гашения дуги в трубчатых разрядниках?

4. Для чего необходим внешний искровой промежуток при установке трубчатых разрядников?

5. Принцип работы и устройства вентильных разрядников.

6. Какие марки разрядников применяются для защиты сельских электроустановок?

7. Каково назначение нелинейного сопротивления в вентильном разряднике?

8. Разрешается ли располагать в зоне выхлопа трубчатых разрядников какие-либо элементы электроустановок?

9. Каково основное преимущество ОПН перед вентильными разрядниками?

10. Почему при реконструкции и проектировании новых подстанций вентильные разрядники необходимо заменять ОПН?